通用功率模块内部封装一部分是由组成的单相或三相桥式,另一部分是由六个管(绝缘栅双极)和配合使用的六个组成的三相桥式输出。
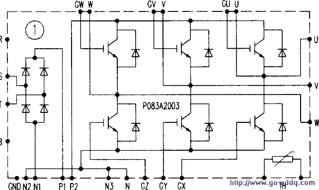
图l所示是P083A2003通用变频器功率模块的内部结构和引脚电路图。R、S、T是输入端,该模块是交流220V供电的,R脚为空脚。内部是单相桥式整流。
Pl是+300V整流输出正端,Nl是整流输出负端,此两脚外接电解,并通过线圈Pl与P2连通,Nl与N2连通。向六个IGBI‘管组成的输出桥供电。
三相输出桥的上半桥三个管集电极都与正端相连。发射极分别是U、V、W三相输出端,三个管的发射极与栅极又构成三相上半桥驱动信号输入端GU-U、GV-V、GW-W。三相输出桥的下半桥三个IGBT管集电极分别与U、V、W相连,发射极都与电源负端相连,三个管的栅极与电源负端构成三相下半桥驱动信号输入端GX、GY、GZ。B是制动控制端。
此模块内部无制动电路。TH是内部热敏保护输出端。其他型号的通用变频器功率模块的引脚和在电路板上的标注虽然各有不同,但不难辨认主要功能脚位置。高端产品采用智能型功率模块,内部包含驱动电路和制动电路引脚相应多一些。
功率模块在路检测(脱离电网)时,用指针R×l挡分别正反测量整流桥的六个二极管和输出桥的六个IGBT管的集电极与发射极可判断其是否,表l和表2是正常测量结果,否则内部有击穿元件。用指针Bx1k挡分别测量六个IGBT管的栅极与发射极间的(驱动信号输入端)应一样,有不同时则是驱动电路或IGBT管损坏。以上测量只能测出IGBT管击穿性损坏。测不出开路性损坏。把功率模块从电路板上拆下后可对每个IGBT管进行进一步测量,方法如图2所示,表针在左边表示不导通。表针在右边表示导通。如不能使之导通和截止,则是该管损坏。
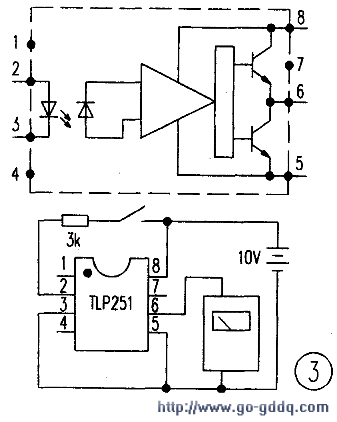
TLP251是变频器常用的光耦驱动电路,当功率模块击穿时常殃及该电路。其内部电路和测量方法如图3所示。当②脚经3kΩ与10V电源断开或接通时。⑥脚有0V或9V的高低变化。
Pl是+300V整流输出正端,Nl是整流输出负端,此两脚外接滤波电解,并通过互感线圈Pl与P2连通,Nl与N2连通。向六个IGBI‘管组成的输出桥供电。
三相输出桥的上半桥三个IGBT管集电极都与电源正端相连。发射极分别是U、V、W三相输出端,三个管的发射极与栅极又构成三相上半桥驱动信号输入端GU-U、GV-V、GW-W。三相输出桥的下半桥三个IGBT管集电极分别与U、V、W相连,发射极都与电源负端相连,三个管的栅极与电源负端构成三相下半桥驱动信号输入端GX、GY、GZ。B是制动控制端。
此模块内部无制动电路。TH是内部热敏电阻保护输出端。其他型号的通用变频器功率模块的引脚和在电路板上的标注虽然各有不同,但不难辨认主要功能脚位置。高端产品采用智能型功率模块,内部包含驱动电路和制动电路引脚相应多一些。
功率模块在路检测(脱离电网)时,用指针万用表R×l挡分别正反测量整流桥的六个二极管和输出桥的六个IGBT管的集电极与发射极可判断其是否击穿,表l和表2是正常测量结果,否则内部有击穿元件。用指针万用表Bx1k挡分别测量六个IGBT管的栅极与发射极间的电阻(驱动信号输入端)应一样,有不同时则是驱动电路或IGBT管损坏。以上测量只能测出IGBT管击穿性损坏。测不出开路性损坏。把功率模块从电路板上拆下后可对每个IGBT管进行进一步测量,方法如图2所示,表针在左边表示不导通。表针在右边表示导通。如不能使之导通和截止,则是该管损坏。
TLP251是变频器常用的光耦驱动电路,当功率模块击穿时常殃及该电路。其内部电路和测量方法如图3所示。当②脚经3kΩ电阻与10V电源断开或接通时。⑥脚有0V或9V的高低电压变化。

