一、发射机工作原理
单频道发射机型为XG100-20W,该机主要由、、、ALC和五大模块组成。信号流程如右图所示。图像和伴音中频信号由一高隔离度二分配混合后送入混频级,与本振产生的微波源信号进行混频放大,经滤波进入功放模块,放大的射频信号由邻频多工馈送到天线发射。另外,从输出端取出一部分信号通过ALC模块反馈给输入端,以稳定输出发射功率。模块输出的12V为整机提供工作。
二、功放横块分析
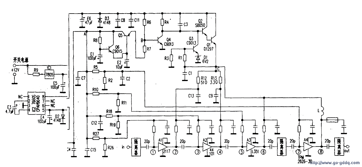
由于功放模块工作在大状态。是故障多发部位。厂家未提供图纸,笔者依实物绘出电原理图,如下图所示。A1~A4是场效应功率管,均为四引脚,除输入、输出脚外,其余两脚接地。
12V电压由R9限流经1稳压、E5滤波后得到5V电压,为IC2提供工作电源。1C2⑤脚产生-4.5V左右的负电压。该电压在A点分为两路。一路经R5、R10、R18、R27分别为A4、A3、A2、A1的输入端提供工作所需的负栅源电压VGS,另一路经由Q6、Q5控制C点电压。其控制过程是:由于A点负压的存在,Q6获得正偏导通,Q5导通,通过R7将B点电位拉低,Q4截止,其c极为高,Q2、Q1导通,将12V扩流后在C点得到10V电压,经R12、R13、L分别为A1、A2、A3、A4输出端提供工作所需的正漏源电压VDS。Q3、R1、R3、D1组成C点稳压电路,当某种原因使C点电压升高时,通过R1、R3分压使Q3 b极电压升高,其c极电流增大,电压降低,使Q2、Q1导通程度减小,C点电压降低;同理,当C点电压因某种原因降低时,则上述控制过程相反,C点电压升高,最终使Vc保持稳定。射频信号经A1、A2和A3推动放大进入未级大功率管A4将信号放大到足够的功率馈入发射单元。
检修此机时要注意监测A1~A4管输入端VGS、输出端VDS电压。正常时各管的输入输出电压见附表。
| 放大管 | A1 | A2 | A3 | A4 | 备注 |
| Vin | -1 | -2.7 | -1 | -1.5 | VGS |
| Vout | 5 | 8 | 10 | 10 | VDS |