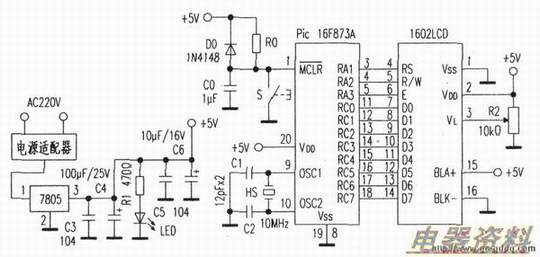
下图是用P16F873A控制的1602型显示器的硬件。PIC16F873A(1)脚,外接RO、co、DO和微动开关S组成的复位(低有效)电路,(9)、(10)脚外接(10M)和Cl、C2组成单片机的时钟电路:PIC16F873A的A端口中的RA1、RA2、RA3分别与1602型LCD的RS、R/W和E端相连,以便用PIC单片机控制1602型LCD的基本操作。PIC16F873A的C端口中的RCO—RC7分别与1602型LCD的数据端DO—D7口相连,以便PIC单片机控制1602型LCD的指令和数据读写操作。系统采用(外购件一输入220V/输出+3V叶12V可调)供电,再经7805稳压器稳压,输出+5V给硬件电路供电。7805输出端的C3—C6为高低频电路.使+5v十分干净。为电源指示灯。
