1.钳形表及测量示意(见下图)
钳形电流表的主要部件是一个穿心式电流器,在测量时将钳形电流表的磁铁套在被测导线上,形成1匝的初级线圈,利用电磁感应原理,次级线圈中便会产生感应电流,与次级线圈相连的电流表指针便会发生偏转,指示出线路中电流的数值。
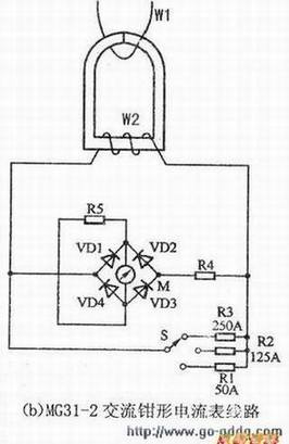
2.钳形电流表及线路(见下图)


使用钳形电流表时要注意以下几点:
(1)在使用钳形电流表时,要正确选择钳形电流表的档位位置。测量前,根据的大小粗估一下电流数值,然后从大档往小档切换,换档时,被测导线要置于钳形电流表卡口之外。
(2)检查表针在不测量电流时是否指向零位,若未指零,应用小螺丝刀调整表头上的调零螺栓使表针指向零位,以提高读数准确度(3)测量电动机电流时,扳开钳口活动磁铁,将电动机的一根线放在钳口中央位置,然后松手使钳口密合好。如果钳口接触不好,应检查是否弹簧损坏或有脏污。如有污垢,可用布清除后再测量。
(4)在使用钳形电流表时,要尽量远离强磁场(如通电的自耦调压器、磁铁等),以减小磁场对钳形电流表的影响。
(5)测量较小的电流时,如果钳形电流表量程较大,可将被测导线在钳形电流表口内绕几圈,然后去读教。线路中实际的电流值应为仪表读数除以导线在钳形电流表上绕的匝数。