由于会产生电磁波而影响到其电子产品的正常工作,因此正确的排版技术就变得非常重要。
一、开关PCB排版技术规则
1.旁路瓷片器的量不能。太大,而它的寄生串联量应该尽最减小。为了改善电容的高频特性,多个不同特性的电容器可以并联起来使用。
电解电容器一般有很大电容量和很大等效串联。由于它的谐振很低,所以只能使用在低频上。钽电容器一般都有较大电容量和较小等效串联电感。因而它的谐振频率会高于电解电容器。能使用在中高频滤波上。瓷片电容器电容最和等效串联电感一般都很小。因而它的谐振频率远高于电解电容器和钽电容器,所以能使用在高频滤波和旁路上。由于小电容最瓷片电容器的谐振频率会比大电容量瓷片电容器的谐振频率要高,因此在选择旁路电容时不能光选用电容值过高的瓷片电容器。
图l显示了在一个PCB上输人电源至的不同走线方式。为了降低滤波电容器的ESL,电容器引脚的引线长度虚尽最减短。而Vin正极至Rl和Vin负极至RL的走线应尽量靠近。
2.电感的寄生并联电容最应该尽量减小,电感引脚之间的距离越远越好。
在开关电源的应用中电感的等效并联电容也该控制得越小越好,同时必须注意同一电感量的电感会由于线圈结构不同而产生不同的等效并联电容值。
图2显尔了在一个PCB上输入电源通过电感垒负裁的不同走线方式。为了降低电感的Cp,电感的二个引脚应尽量远离。而Vin正极至RL和Vin负极至RL上的走线应尽量靠近。
3.设计人员应该尽量避免在地层上放置任何功率或信号走线。
一旦地层上的走线破坏了整个高频交流环路。该电路会产生很大的电磁波辐射而破坏周边电子器件的正常工作。
4.为了减小高频交流环路所产生的电磁波噪音,该环路的面积应该控制得非常小。如果高频交流环路面积很大。就会在坏路的内部和外部产生很大的电磁十扰。如果同样的高频交流电流。当环路面积设计得非常小时,环路内部和外部电磁场互相抵消,整个电路会变得非常安静。

5.许多设计人员喜欢在多层PCB上放置很多过孔,但是必须避免在高频交流电流返山路径上放鼹过多过孔,否则,地层上高频交流电流走线会遭到破坏。如果必须在豳频交流电流路径上放置一些过孔的话,过孔之间可以留出一些空间让高频交流电流顺利通过。图3(a)显示了过孔放置方式。
设计者同时应注意不同焊盘的形状会产生不同的串联电感,图3(h)显尔了儿种焊盘形状的串联电感值。
旁路电容的放置也要考虑到它的串联电感值,旁路电容必须是低和低ESL的瓷片电容。但如果一个高品质瓷片电容在PCB上放置的方式不对,它的高频滤波功能也就消火了,图3(c)显示了旁路电容正确和错误的放置方式。
6.许多开关电源的负载远离电源的输出端口,为了避免输出走线受到电源自身或周边电千器件所产生的电磁波干扰,输出电源走线必须像罔4中那样靠得很近。输出电流坏路的面积也必须减小。
7.新一代电子产品系统板上会同时有模拟电路、数字电路及开关电源电路。为了减小开关电源噪音对敏感的模拟和数字电路的影响。通常需要分隔不同电路的接地屡。如果选用多层PCB,不同电路的接地层可由不同PCB板层来分隔。
如果整个产品只有一层接地层,则必须像图5那样在单层中分隔。无论是在多层PCB上进行地层分隔成上在单层PCB上进行地层分隔,不同电路的地层都应该通过单点与开关电源的接地相连接。
二、开关电源PCB排版技术规则应用举例
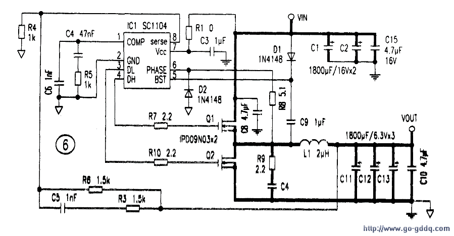
如图6所示的开关电源原理图:通常首先需要知道电源高频交流电流的路径,并能够区分小信号控制电路和功率电路元器件及其走线。图6将传统电源原理图区分成控制电路部分(细线)和功率电路部分(粗线)。一般来讲,电源的功率电路主要包括输入滤波电容、输出滤波电容、滤波电感、上下端功率场效应管。控制电路主要包括控制芯片、旁路电容、自举电路、反馈分压、反馈补偿电路。
1.电源功率电路PCB排版电源功率器件在,PCB上正确的放置和走线将决定整个电源工作是否正常。图7更进一步显示一个降压式拜关电源功率电路元器件上的电流和波形。由于从输入滤波电容(Cin)上端场效应管(Q1)和下端场效应管(Q2)中所流过的电流是带有高频率和高峰值的交流电流。所以由Cin-Q1-Q2所形成的环路面积要尽量减小。同时由下端场效应管(Q2)、电感(L)和输出滤波电容(Cout)所组成的环路面积也需要尽量减小。
图8是一个比较好的电源功率电路PCB走线。Cin-Ql-Q2和Q2-L-Cout环路的面积已控制得最小。
上端场效应管(Q)的源极、下端场效应管(Q2)的漏极和输出电感(L)之间的连接点是一整块锏片焊盘。由于该连接点上的电压是高频和交流,Q1和Q2和L需要靠得非常近。虽然输出滤波电感(L)和输出滤波电容(Cout)之间的走线上没有高峰值的高频交流电流,但比较宽的走线可以降低直流阻抗的损耗使电源的效率得到提高。如果成本上允许,电源可用一面完全是接地层的双面PCB.但必须注意在地屡上尽最避免走功率和信号线。同时在电源的输入和输出端口还各增加一个瓷片电容器来改善电源的高频滤波性。
2.电源控制电路PCB排版电源控制电路PCB排版技术规则应是控制芯片至上端和下端场效应管的驱动电路环路要尽最短。
电源控制电路PCB排版也非常重婴,不合理的排版会造成电源输出电压的漂移和振荡。控制线路应放置在功率电路的边上。绝对不能放在高频交流环路的中间,旁路电容要尽量靠近芯片的V和接地脚(GND),反馈分压最好也放置在芯片附近,芯片驱动至场效应管的环路也要尽量减短。


