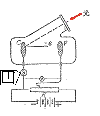
金属或半导体受光照时,如果入射的光子能量hν足够大,它和物质中的电子相互作用,使电子从材料表面逸出的现象,也称为外光电效应。它是真空光电器件光电阴极的物理基础。
外光电效应的两个基本定律

光电发射定律解释图
1.光电发射第一定律——斯托列托夫定律:
当照射到光阴极上的入射光频率或频谱成分不变时,饱和光电流(即单位时间内发射的光电子数目)与入射光强度成正比:
Ik=SkF0
Ik:光电流
Sk:光强
F0:该阴极对入射光线的灵敏度
2.光电发射第二定律——爱因斯坦定律
光电子的最大动能与入射光的频率成正比,而与入射光强度无关:
Emax=(1/2)mυ2max=hν- hν0=hν- A
Emax:光电子的最大初动能。
h:普朗克常数。
ν0:产生光电发射的极限频率,频率阈值。
A:金属电子的逸出功(从材料表面逸出时所需的最低能量),单位eV,与材料有关的常数,也称功函数。
入射光子的能量至少要等于逸出功时,才能发生光电发射。
波长阈值:
λ0=C/ν0≤hc/A=1.24(μm·eV)/A=1240/A(nm)
当入射光波长大于λ0时,不论光强如何,以及照射时间多长,都不会有光电子产生。要用红外光(λ>0.76μm)发射电子,必须寻求低于1.8eV的低能阈值材料。
光电发射的基本过程
光电发射大致可分三个过程:
1)光射入物体后,物体中的电子吸收光子能量,从基态跃迁到能量高于真空能级的激发态。
2)受激电子从受激地点出发,在向表面运动过程中免不了要同其它电子或晶格发生碰撞,而失去一部分能量。
3)达到表面的电子,如果仍有足够的能量足以克服表面势垒对电子的束缚(即逸出功)时,即可从表面逸出。

光电发射过程图
可见好的光电发射材料应该是:(1)对光的吸收系数大,以便体内有较多的电子受到激发;(2)受激电子最好是发生在表面附近,这样向表面运动过程中损失的能量少;(3)材料的逸出功要小,使到达真空界面的电子能够比较容易地逸出;(4)另外,作为光电阴极,其材料还要有一定的电导率,以便能够通过外电源来补充因光电发射所失去的电子。
金属的光电发射
金属反射掉大部分入射的可见光(反射系数达90%以上),吸收效率很低。光电子与金属中大量的自由电子碰撞,在运动中丧失很多能量。只有很靠近表面的光电子,才有可能到达表面并克服势垒逸出,即金属中光电子逸出深度很浅,只有几nm,而且金属逸出功大多为大于3eV,对能量小于3eV(λ>410nm)的可见光来说,很难产生光电发射,只有铯(2eV逸出功)对可见光最灵敏,故可用于光阴极。但纯金属铯量子效率很低,小于0.1%,因在光电发射前两个阶段能量损耗太大。
半导体的光电发射
半导体光电逸出参量:
电子亲和势:导带底上的电子向真空逸出时所需的最低能量,数值上等于真空能级(真空中静止电子能量)与导带底能级Ec之差。它有表面电子亲和势Ea与体内电子亲和势Eae之分。Ea是材料的参量,与掺杂、表面能带弯曲等因素无关。而Eae不是材料参量,可随表面能带弯曲变化。

电子亲和势
电子逸出功:电子逸出功是描述材料表面对电子束缚强弱的物理量,在数量上等于电子逸出表面所需的最低能量,也可以说是光电发射的能量阈值。
金属有大量的自由电子,没有禁带,费米能级以下基本上为电子所填满,费米能级以上基本上是空的,表面能带受内外电场影响很小,EF只决定于材料。所以金属的电子逸出功定义为T=0K时真空能级与EF之差,它是材料的参量,可以用来作为光电发射的能量阈值。
半导体自由电子较少,且有禁带,费米能级EF一般都在禁带当中,且随掺杂和内外电场变化,所以真空能级与费米能级之差不是材料参量。半导体电子逸出功定义为T=0K时真空能级与电子发射中心的能级之差,而电子发射中心的能级有的是价带顶,有的是杂质能级,有的是导带底,情况复杂,因此对于半导体很少用电子逸出功的概念。由于电子逸出功不管从哪里算起,其中都包含有亲和势(真空能级与导带底之差),因此为了表示光电发射的难易,使用亲和势的概念比使用逸出功的概念更有实际意义。所以,对于半导体一般不用逸出功的概念,而用电子亲和势的概念。为了表示光电发射的能量阈值,许多资料都是按真空能级与价带顶之差(亲和势加上禁带宽度)来计算。
表面能带弯曲:
半导体无界时,能带结构是平直的,有界时表面处破坏了晶格排列周期性(势场)而且表面易氧化及被杂质污染,因而在禁带中引入附加能级(表面能级),由于表面能级的存在,在表面处引起能带弯曲。表面能带弯曲,对于体内的光电子发射是有影响的。因为表面电子亲和势Ea是材料的参量,它不随表面能带弯曲而变化。而体内电子亲和势则要随着表面能带弯曲而增减。

表面能带弯曲
对于N型半导体,施主能级上的电子跃迁到表面能级时,半导体表面将产生一个负的空间电荷区。而距离表面稍远一点的体内则分布有等量正的体电荷,因此表面能带向上弯。向上弯的程度,可用表面势垒eUs表示,e为电子电荷,Us为表面势,在数值上等于体内与表面的电势差。对于N型半导体来说,因表面能带向上弯,体内的电子亲和势Eae要比表面能带不发生弯曲时增加一个势垒高度eUs,使得体内光电子发射变得更困难。
对于P型半导体,情况正好相反。表面能级中能量高于受主能级的电子有的要跃迁到受主能级上,于是半导体表面即产生一个正的空间电荷区,距离表面稍远一点的体内则分布有等量的负电荷,因此表面能带向下弯。特别是P型半导体表面吸附有带正电性的原子(例如铯原子)或N型材料的时候,表面上偶电层正电性在外,能带弯曲就更厉害。能带弯曲的程度也用表面势垒eUs表示。表面能带向下弯,使得体内电子亲和势比能带不发生弯曲时减少一个势垒高度eUs。这样,这种表面能带弯曲对于体内的光电子发射十分有利。
因此,现在各种实用光电阴极几乎全是用P型半导体材料为衬底,然后在它的表面上再涂上带正电性的金属或N型材料而制成的。这样,就能得到向下弯曲的表面能带,减小逸出功。如果再能使带弯曲足够小(带曲区宽度为z),以至比材料吸收系数的倒数还小得多(z≤1/a)时,则可以使光电子发射的主要部位来自于体内。这时,量子效率要比单纯能带弯曲大得多。另外,强P型半导体的费米能级十分靠近于价带,这可使热电子发射(暗电流)较小。
实用光电阴极:分为常规光电阴极、负电子亲和势阴极两大类。
常规光电阴极:用于常用真空光电器件中。根据国际电子工业协会规定,按其出现的先后顺序,以S为字头排成序号。
常规光电阴极编号及特性表


常用光电阴极光谱特性曲线
负电子亲和势(NEA,Negative Electron Affinity)阴极:

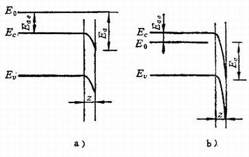
负电子亲和势光电发射体模型与常规光电发射体模型
a) 常规光电发射体物理模型 b) 负电子亲和势光电发射体物理模型
采用特殊工艺,例如在重掺杂P型硅表面涂一薄层CsO2,可形成NEA材料。负电子亲和势是指体内的有效电子亲和势,而不是指表面电子亲和势。NEA发射体和常规光电发射体的表面,电子状态是类似的,导带底上的电子能量都低于真空能级,其差值为Ea。但是,两者体内电子能量则不同。NEA发射体导带底的电子能量高于真空能级,而常规发射体电子亲和势仍是正的。
NEA阴极的量子效率高于正电子亲和势阴极,可从其光电发射过程进行分析。价带中的电子吸收光子能量,跃迁到导带底以上,成为热电子(受激电子能量超过导带底的电子)。在向表面运动的过程中,由于碰撞散射而发生能量损失,故很快就落到导带底而变成冷电子(能量恰好等于导带底的电子)。热电子的平均寿命非常短,约 10-14~10-12s。如果在这么短的时间内能够运动到真空界面,自然能逸出。但是热电子的逸出深度只有几十纳米,绝大部分电子来不及到达真空界面,就已经落到导带底变成冷电子了。冷电子的平均寿命比较长,约 10-9~10-8s,其逸出深度可达1000纳米。因为体内冷电子能量仍高于真空能级,所以它们运动到真空界面时,可以很容易地逸出。因此NEA量子效率比常规发射体高得多。